教学用载人电梯实训台可以作为高等院校相关课程的实验教学设备。也可以作为技校、职业学校、劳动就业培训中心、电梯维修物业管理等有关电梯专业的培训设备.在教学和工程培训中有很强的实用价直。因此,很有必要设计和制作教学用电梯实训设备。提高教学质量。适应社会发展的需要。
1、教学用载人电梯实训台
教学用载人电梯实训台是我学院自行研制的一项教学实训设备。该装置集知识性、创新性、趣味性于一体,整体可以拆卸便于搬运。安装在室内,能实现多种控制功能。学生们自己动手将各种器件安装在可拆卸的网孔安装板上。控制器件随意布局,电路组合任其发挥,可实现自动控制技能的多种训练。它给学生留有充分灵活地设计与安装的实训空间,使学生对电梯的结构、关键部件以及电气控制、电梯的运作过程有了直观、形象的认识,易于加深对电梯相关知识的了解和掌握。
2、电气控制的设计与实现
该实训台在吊笼内、上、下厅门处设有三块可拆卸的网孔安装板.安装板下方固定有接线盒。学生安装完成的控制电路可方便的与接线盒上各种端子相连。整体电路贯通。即可实现各种电梯控制项目的训练。
图1为吊笼控制箱接线图,电葫芦、行程开关的控制线分别接入接线盒相应的接线端子。外部三相四线交流电源也接入接线盒内电源端。可拆卸的安装板挂在实训台正中,方便地与接线盒连接。接上电源后。接线盒L1、L2、L3、N得电,线圈KM的电主触点吸合,把三相交流电送到接线盒断路器输入端,断路器接通后。指示灯U、V、W发亮。将学生自己制作的电路板上的电路分别接到接线盒的行程开关行程开关、电葫芦接线端子上就可以实验。在实验中如果吊笼碰到行程开关,常闭开关断开.线圈KM断电。主触点断开.讯响器鸣响。按下解除键,线圈KM得电.电鸣响解除。
采用三相1.5KW电葫芦电机直接做为通用变频器的负载配置,提高了控制的多样化和真实性,为自动转换、顺序起动及PLC的应用于开辟了一个实训平台。
通过不同的配置可实现以下几种实训项目:工频手动或自动运行;变频调速手动或自动运行;通过召唤按钮三位逻辑运行:通过PLC可编程、变频器等控制电路;接线盒具有超限位自保电路;楼层显示、照明、风扇等功能。现将教学用载人电梯实训台电气控制的关键技术进行简要的电路分析。
2.1电梯手动控制电路
电路供电闭合电源开关QS。要想使电梯向上运动,按下上启动按钮SBl时线圈KMl得电长开触点KMl一1吸合自锁,主触点KMl吸合电葫芦得电正转,电梯向上运动,当电梯运动到想要高度。按下SQl线圈KMl失电主触点KMl断开电葫芦停转。电梯停下。电梯向下运动亦同。

图2电梯手动控制原理图
2.2电梯延时自动往返行程控制电路电路供电闭合电源开关Qs.按下上启动按钮SBl时线圈KMl得电长开触点KMl吸合白锁.主触点KMl吸合电葫芦得电正转。电梯向上运动。当吊笼上挡块打到上行程开关SQl时。线圈KMI失电主触点KMl断开电葫芦停转。同时SQl常开触点闭合,电子继电器继电器线圈得电延时后常开触点闭合。线圈KM2得电主触点吸合电葫芦得电反转。电梯向下运动,当吊笼上挡块打到下行程开关SQ2时,KM2断电电葫芦停止,JS线圈得电延时后常开触点闭合,KMl得电电葫芦正传。电梯向上运行,进入下一个工作循环。

图4单片机控制原理图
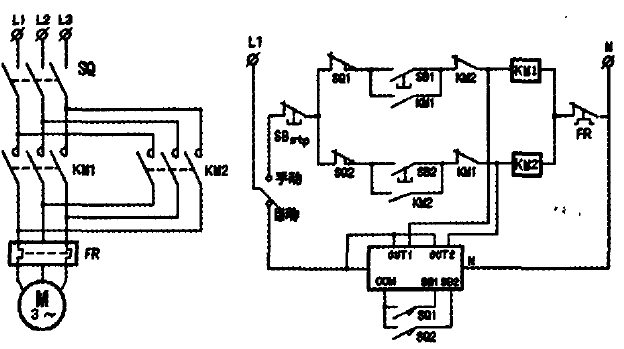
2.3电梯单片机控制电路
电路供电闭合电源开关QS当转换开关至于手动时,按下启动按钮SBl时线圈KMl得电长开触点KMl吸合自锁,主触点KMl吸合,电葫芦正运转。按下启动按钮SB2时线圈KM2得电长开触点KM2吸合自锁.主触点KM2吸合,电葫芦反运转。当需要电泵停时。可直接按停止按钮SBstp电动机停运转。当转换开关至于自动时.运转与停止直接由单片机控制。单片机参考程序(略)。

图5变频器控制原理图
2.4电梯变频器控制电路
电路供电闭合电源开关QS当转换开关至于手动时,按下启动按钮SB2时线圈KMl得电长开触点KMI吸合自锁,主触点KMl吸合,泵l运转。按下启动按钮SB3时线圈KM2得电长开触点KM2吸合自锁,主触点KM2吸合。泵2运转。当需要电泵停时,可直接按停止按钮SBI电动机停运转。当转换开关置自动时,运转与停止直接由单片机控制。
3、结束语
实训过程中,学生们人手一块网孔安装板,根据课程中所按排的内容,组合成灵活多样的控制电路、配置相关器件,自行安装,互不干预,充分的发挥其主观能动性。实践结果证明,该设备在电梯手动控制实训项目、电梯自动往返行程控制实训项目、单片机控制实训项目和变频器控制实训中,具有很高的教学实用性。